

一、路面狀況傳感器產品介紹
路面狀況傳感器又稱路面狀況檢測器,路面結冰監測傳感器,路面狀況傳感器采用多光譜測量技術,能準確檢測出道路表面結冰、積雪和積水的厚度,通過識別路面狀態,給人們提供預警信號,防止因路面結冰影響行車安全。
路面狀況傳感器又稱路面狀況檢測器,路面傳感器,路面狀況傳感器是一款非接觸式路面狀態檢測器,采用遙感技術,避免了對道路的破壞,采用多光譜測量技術使得能準確檢測道出道路表面結冰、積雪和積水的厚度。
路面狀況傳感器又稱路面狀況檢測器,路面狀況傳感器采用遙感技術,多光譜測量技術使得能準確檢測道出道路表面結冰、積雪和積水的存在狀態和厚度,同時還能實時監測影響交通安全的大霧、雨和雪等天氣現象。
WX-LM1系列非接觸式路面狀態檢測器,它采用遙感技術,避免了對道路的破壞,從而不會因為安裝道路氣象站引起的對交通的干擾。多光譜測量技術使得能準確檢測道出道路表面結冰、積雪和積水的存在狀態和厚度,同時還能實時監測影響交通安全的大霧、雨和雪等天氣現象。
二、路面狀況傳感器功能
l檢測路面積水、積雪、結冰狀態
l遠距離遙感檢測路面、橋面狀況
l非埋入式安裝快捷簡便
l車流量和事故多發區域
l雨雪多發區域
l維護成本低
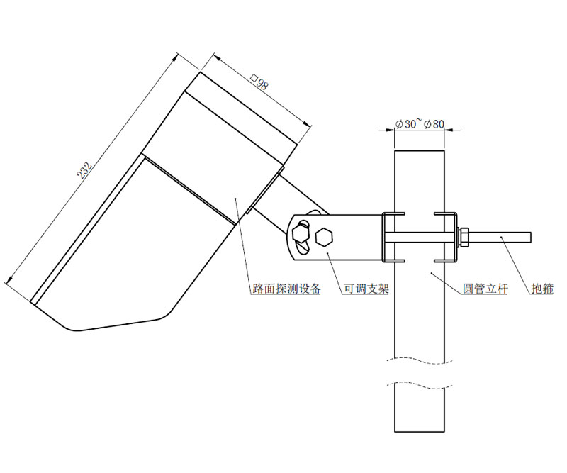
三、路面狀況傳感器產品尺寸圖

四、主要指標
型號 | WX-LM3(停售) | WX-LM1 |
檢測距離及檢測區域直徑 | 2-8米;23cm | |
對水平線的安裝角 | 30-80 | |
電源及功耗 | DC12-24V;0.6W | |
工作溫度和濕 | 溫度:-40oC 至 +60oC;濕度:0 至 95% | |
積水厚 | - | 0-10mm |
覆冰厚 | - | 0-2mm |
積雪厚 | - | 0-2mm |
濕滑程 | - | 0.01(濕滑)-0.82(摩擦強) |
路面狀態報告 | 干燥、潮、 濕、 雪、 冰、 冰水混合 | |
公路天氣現象(選配) | 路面溫度:oC 至 +60oC | |
天氣現象:雨;雪;大霧 | ||
路面材料 | 混凝土、瀝青路面 | |
通訊 | RS485、RS232 | |
?WX-SW3水文流量站通過現代傳感技術感知水流的每一次脈動,成為守護高原江河安全的重要基礎設施,它采用多參···
?隨著夏季腳步的臨近,雨水增多,汛期也要隨之到來,這對于水利工程、灌溉工程等都是一個極大的考驗,需要提···
?WX-SW2水文監測系統是可以實時監測渠道內水位、降雨量的監測設備,在之前的監測方法中面對突如其來的洪水、···
?WX-Q3農業四情監測系統是一款針對農田中“土壤、蟲情、氣象、苗情、孢子”這幾大關鍵要素進行實時監測與預警···
?WX-EL3el相機檢測儀的神奇之處在于它能發現肉眼無法察覺的電池板內部問題。當電流通過光伏組件時,EL相機會···
?WX-XQ3中學校園氣象站不僅配備了先進的儀器設備,還有專業的指導老師進行輔導。在這里,學生們可以親手操作···
?WX-TZSQ60無線遠程多層立體土壤墑情監測儀采用了無線遠程傳輸技術,可以實現數據的實時傳輸和遠程監控。農民···
?WX-CZ5五要素車載氣象站是一種專門用于車載氣象監測的設備,它集成了溫度、濕度、風速、風向、大氣壓力等五···
?傳統的水質監測往往需要攜帶多種儀器,像化學實驗般逐項檢測。而WX-ZS05多參數水質檢測系統把這種繁瑣變成了···
?在自然災害、事故災難等緊急情況下,WX-SQ17應急管理手持氣象儀能夠迅速為救援人員提供關鍵的氣象信息和環境···
魯公網安備37079402370807 備案號:魯ICP備2022000322號-4 百度地圖txt地圖